其他报销
1 业务月结(新)
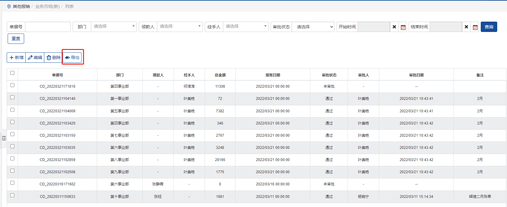
业务报销相关的数据信息。可以通过单据号,部门,领款人,经手人,审批状态,时间段等信息来筛选查询。
点击新增后,在编辑界面,填入相关信息录入报销信息,发起申请,等待审批即可。

选中数据后点击编辑可以修改数据,点击删除则是删除选中数据。
点击导出可以把数据导出成文件。
2 分厂报销
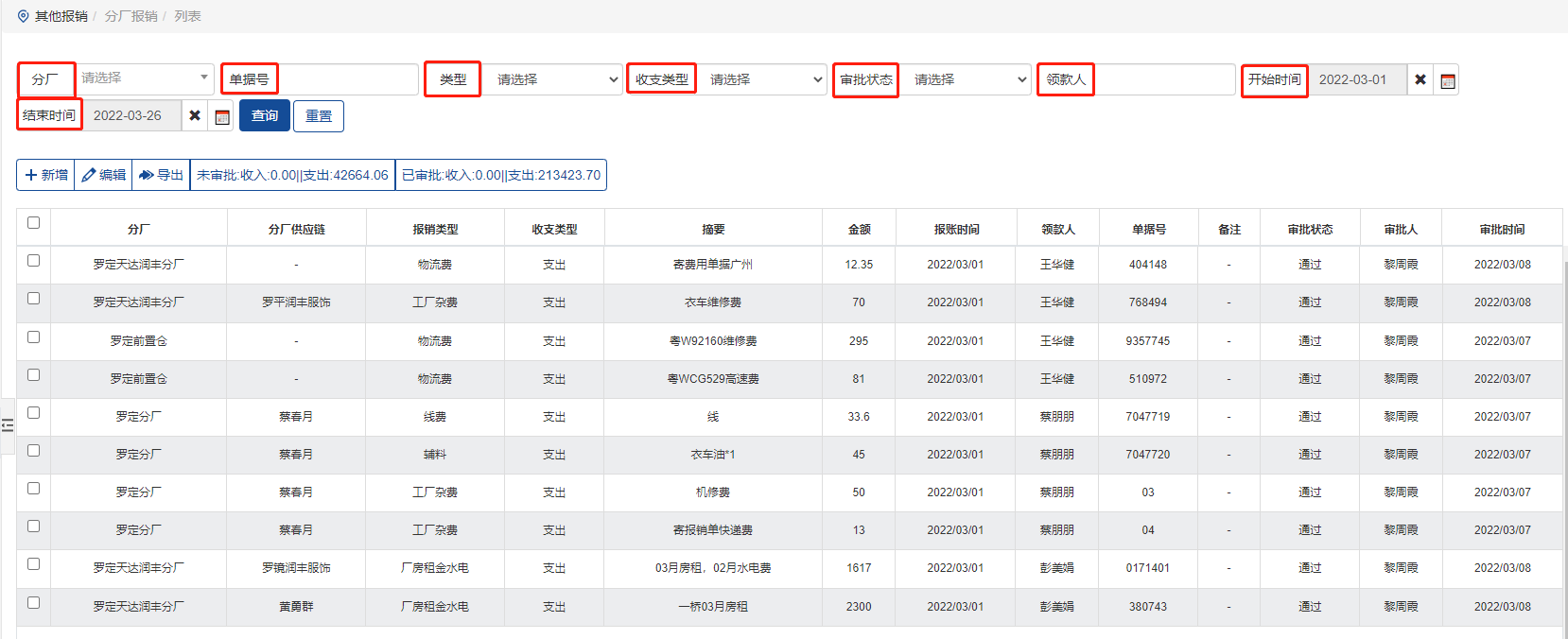
分厂报销申请的相关数据信息。可以通过分厂,单据号,类型,收支类型,审批状态,领款人,时间段等信息来进行筛选查询。
点击新增后在弹出的窗口输入相关信息,就可以发起报销申请,等待审批。

选中数据后点击编辑可以修改数据,点击删除则是删除选中数据。
列表中的信息还会根据审批状态和收入支出进行汇总统计。
3 尾部二次工艺报销
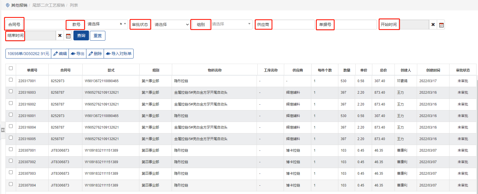
尾部二次工艺的报销申请信息。可以使用合同号,款号,审批状态,组别,供应商,单据号,时间段等信息来进行筛选查询。
列表中的数据会统计出单数和金额两个数字,并显示再列表上方。
选中数据后点击编辑可以修改数据,点击删除则是删除选中数据。
点击导出可以把数据导出成文件。
点击导入对账单上传对应的信息附件即可提交报销申请。
4 生产杂费
生产相关费用的报销申请信息。可以通过单据号,部门,审批状态,时间段等信息进行筛选查询。
点击新增后在跳转到的页面输入相关信息,就可以发起报销申请,等待审批。
选中数据后点击编辑可以修改数据,点击删除则是删除选中数据。
点击导出可以把数据导出成文件。